Velocity of a Cam-Follower System

← Back to Problems
Rotational Motion Advanced rigid body

Source: Physics Competition - Mechanics

Problem Sets:

Relative motion - rigid body

Problem

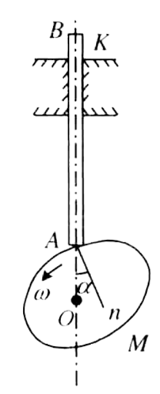
A pushrod AB slides in a vertical guide K, driven by a cam M rotating about axis O with constant angular velocity $\omega$. At the instant shown, the contact point A is at a distance $r$ from O (OA=r). The angle between the normal $n$ to the cam surface at A and the line OA is $\alpha$.

Find the velocity of the pushrod AB at this instant.
P0728-problem-1

P0728-problem-1

$v_{AB} = \omega r \cot\alpha$

Let $\vec{v}_{A,cam}$ be the velocity of the contact point A on the cam and $\vec{v}_{AB}$ be the velocity of the pushrod (follower). The rod is constrained to move vertically, so $\vec{v}_{AB}$ is vertical. The follower has a flat horizontal face, so the relative sliding velocity between the cam and the follower must be tangential to the cam surface.

The velocity of point A on the cam is related to the velocity of the rod by:

$$\vec{v}_{A,cam} = \vec{v}_{AB} + \vec{v}_{slide}$$

Since $\vec{v}_{AB}$ is vertical and $\vec{v}_{slide}$ is tangential to the surface, the norm component of $\vec{v}_{A,cam}$ and $v_{AB}$ must be equal.

$$(v_{AB})_{norm} = (\vec{v}_{A,cam})_{norm}$$

Therefore,

$$v_{AB} \sin\alpha = v_{A,cam} \cos\alpha$$ $$v_{AB} = \omega r \cot\alpha$$